MÔ TẢ:
- Máy kéo LGM-Series là một giải pháp lý tưởng để kéo các bánh xe, đĩa xích, ổ trục cỡ nhỏ đến trung bình và các bộ phận gắn trên trục tương tự khác. Hệ thống đóng tự định vị của bộ kéo cho phép tất cả các hàm di chuyển đồng thời, giúp một người vận hành dễ dàng lắp bộ kéo và thực hiện ứng dụng. Xoay tay cầm của bộ kéo sẽ khóa các hàm vào ứng dụng, cho phép đối tượng mong muốn được kéo tự do khi trục quay được quay.
- Gắn kết nhanh chóng và dễ dàng trên nhiều ứng dụng
- Hàm khóa trên cung cấp một tay cầm chắc chắn để vận hành an toàn và dễ dàng
- Chuyển động hàm đồng bộ cho phép thực hiện toàn bộ công việc kéo bởi một người vận hành duy nhất
- Các Máy kéo LGM-Series PHẢI được sử dụng với bộ bảo vệ điểm nếu đầu trục không có lỗ tâm đã khoan. Bộ bảo vệ một điểm được bao gồm trong mỗi bộ kéo.
- Luôn đeo kính bảo hộ và găng tay khi sử dụng máy kéo
BẢN VẼ KỸ THUẬT:

| Dimension A (mm) |
177 |
| Dimension B (mm) |
260 |
| Dimension C (mm) |
134 |
THÔNG SỐ KỸ THUẬT:
| Model |
LGM211 |
| Maximum Torque (Nm) |
203 |
| Capacity (kN) |
97,9 |
| Capacity (imperial tons) |
1 |
| Puller Power Source |
Mechanical |
| Maximum Spread (mm) |
300 |
| Minimum Spread (mm) |
84 |
| Maximum Reach (mm) |
215 |
| Number of Jaws |
2 |
| Weight (kg) |
6,7 |
TỪ KHÓA TÌM KIẾM: CẢO THỦY LỰC LGM204, CẢO THỦY LỰC 4 TẤN, CẢO THỦY LỰC SỬ DỤNG BƠM TAY, DỤNG CỤ THỦY LỰC ENERPAC, CẢO 2 CHẤU
MÔ TẢ:
- Máy kéo LGM-Series là một giải pháp lý tưởng để kéo các bánh xe, đĩa xích, ổ trục cỡ nhỏ đến trung bình và các bộ phận gắn trên trục tương tự khác. Hệ thống đóng tự định vị của bộ kéo cho phép tất cả các hàm di chuyển đồng thời, giúp một người vận hành dễ dàng lắp bộ kéo và thực hiện ứng dụng. Xoay tay cầm của bộ kéo sẽ khóa các hàm vào ứng dụng, cho phép đối tượng mong muốn được kéo tự do khi trục quay được quay.
- Gắn kết nhanh chóng và dễ dàng trên nhiều ứng dụng
- Hàm khóa trên cung cấp một tay cầm chắc chắn để vận hành an toàn và dễ dàng
- Chuyển động hàm đồng bộ cho phép thực hiện toàn bộ công việc kéo bởi một người vận hành duy nhất
- Các Máy kéo LGM-Series PHẢI được sử dụng với bộ bảo vệ điểm nếu đầu trục không có lỗ tâm đã khoan. Bộ bảo vệ một điểm được bao gồm trong mỗi bộ kéo.
- Luôn đeo kính bảo hộ và găng tay khi sử dụng máy kéo
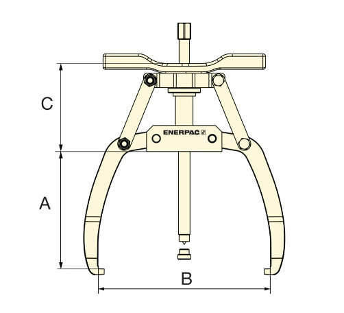
BẢN VẼ KỸ THUẬT:

| Dimension A (mm) |
215 |
| Dimension B (mm) |
300 |
| Dimension C (mm) |
126 |
THÔNG SỐ KỸ THUẬT:
| Model |
LGM211 |
| Maximum Torque (Nm) |
203 |
| Capacity (kN) |
97,9 |
| Capacity (imperial tons) |
1 |
| Puller Power Source |
Mechanical |
| Maximum Spread (mm) |
300 |
| Minimum Spread (mm) |
84 |
| Maximum Reach (mm) |
215 |
| Number of Jaws |
2 |
| Weight (kg) |
6,7 |
MÔ TẢ:
- Máy kéo LGM-Series là một giải pháp lý tưởng để kéo các bánh xe, đĩa xích, ổ trục cỡ nhỏ đến trung bình và các bộ phận gắn trên trục tương tự khác. Hệ thống đóng tự định vị của bộ kéo cho phép tất cả các hàm di chuyển đồng thời, giúp một người vận hành dễ dàng lắp bộ kéo và thực hiện ứng dụng. Xoay tay cầm của bộ kéo sẽ khóa các hàm vào ứng dụng, cho phép đối tượng mong muốn được kéo tự do khi trục quay được quay.
- Gắn kết nhanh chóng và dễ dàng trên nhiều ứng dụng
- Hàm khóa trên cung cấp một tay cầm chắc chắn để vận hành an toàn và dễ dàng
- Chuyển động hàm đồng bộ cho phép thực hiện toàn bộ công việc kéo bởi một người vận hành duy nhất
- Các Máy kéo LGM-Series PHẢI được sử dụng với bộ bảo vệ điểm nếu đầu trục không có lỗ tâm đã khoan. Bộ bảo vệ một điểm được bao gồm trong mỗi bộ kéo.
- Luôn đeo kính bảo hộ và găng tay khi sử dụng máy kéo
BẢN VẼ KỸ THUẬT:

| Dimension A (mm) |
215 |
| Dimension B (mm) |
300 |
| Dimension C (mm) |
126 |
THÔNG SỐ KỸ THUẬT:
| Model |
LGM211 |
| Maximum Torque (Nm) |
203 |
| Capacity (kN) |
97,9 |
| Capacity (imperial tons) |
1 |
| Puller Power Source |
Mechanical |
| Maximum Spread (mm) |
300 |
| Minimum Spread (mm) |
84 |
| Maximum Reach (mm) |
215 |
| Number of Jaws |
2 |
| Weight (kg) |
6,7 |
xuất xứ: Enerpac - USA
CO/CQ đầy đủ
Bảo hành: 12 tháng